SABCS 2023丨袁中玉教授:到头新岁月,行脚旧山川,立于2023岁末再看HER-2低表达乳腺癌

作者:肿瘤瞭望   日期:2023/12/25 16:12:55  浏览量:9956

肿瘤瞭望版权所有,谢绝任何形式转载,侵犯版权者必予法律追究。

最近两年,HER-2低表达乳腺癌快速成为乳腺癌领域的热门话题。在近期举行的第46届美国圣安东尼奥乳腺癌年会(SABCS 2023)上,有数项关于人类表皮生长因子受体2(HER2)低表达乳腺癌的研究公布,使该话题成为本次会议的焦点之一。因此,本文对HER2低表达乳腺癌的研究进展进行梳理以及展望,并特别邀请到中山大学肿瘤防治中心袁中玉教授进行精彩点评。

编者按:最近两年,HER-2低表达乳腺癌快速成为乳腺癌领域的热门话题。在近期举行的第46届美国圣安东尼奥乳腺癌年会(SABCS 2023)上,有数项关于人类表皮生长因子受体2(HER2)低表达乳腺癌的研究公布,使该话题成为本次会议的焦点之一。因此,本文对HER2低表达乳腺癌的研究进展进行梳理以及展望,并特别邀请到中山大学肿瘤防治中心袁中玉教授进行精彩点评。
 
HER2低表达治疗新标准的形成
 
HER2是乳腺癌重要的驱动基因和预后指标,也是抗HER2药物治疗的主要疗效预测指标。既往对于HER2状态的判定,一直是简单地将其二元区分为HER2+(IHC3+或IHC2+/FISH+)和HER2-(IHC2+/FISH-或IHC1+或IHC 0)。对于HER2-中的IHC2+/FISH-或IHC1+这部分人群,鉴于无法从既往的传统抗HER2方案中获益,一般会根据HR状态区分为HR+(Luminal型)和HR-(三阴性)进行治疗。也就是说,虽然HER2低表达的概念是一直存在的,但由于该亚型的治疗意义并不清楚,所以HER2低表达一直没有成为真正的临床治疗标准。
 
然而,HER2低表达在乳腺癌中十分常见,占全部乳腺癌类型中的半数,约45%~55%的乳腺癌呈现出HER2低表达状态[1]。这类乳腺癌的分子特征、临床预后、治疗方式不同于HER2未检出或HER2阳性乳腺癌。自上世纪开始,研究者们尝试利用多种靶向治疗药物,在临床试验中以HER2低表达为亚组或全部受试者,寻找有效的攻克方法,结果无论是在辅助治疗还是晚期解救治疗方面都效果欠佳[2]
 
直到Ⅲ期DESTINY-Breast04(DB-04)试验结果公布以后,这一状况才发生了根本变化。此项DB-04研究是针对HER2的抗体药物偶联物(ADC)——德曲妥珠单抗(T-DXd)在预处理HER2低表达转移性BC中的探讨,是第一项评价T-DXd对比医生选择化疗方案(TPC)用于HER2低表达晚期乳腺癌的疗效和安全性的全球多中心非盲随机对照Ⅲ期临床试验。该研究共入组557例既往接受过1~2线化疗的HR阳性或HR阴性、HER2低表达的不可切除和(或)转移性乳腺癌患者,按2∶1的比例随机分入T-DXd组或医师选择化疗组(TPC,卡培他滨、艾立布林、吉西他滨、紫杉醇或白蛋白紫杉醇)。2022年NEJM报道了DB-04研究的首次中期分析结果:截至2022年1月11日,中位随访18.4个月时,在494例HR+患者中,T-DXd组相比TPC获得了中位无进展生存期(PFS 10.1 vs.5.4个月,HR=0.51,P<0.001)和中位总生存期(OS 23.9 vs.17.5个月,HR=0.64,P=0.003)的双重获益;在所有患者中,T-DXd组相比TPC同样获得了中位无进展生存期(PFS 23.9 vs.5.1个月,HR=0.50,P<0.001)和中位总生存期(OS,23.4 vs 16.8个月,HR=0.64,P=0.001)的双重获益[3]
 
DB04研究的结果代表着乳腺癌治疗格局迎来了里程碑式的变化,打破了传统以HER2状态二元区分的乳腺癌治疗标准,重塑了乳腺癌抗HER2治疗新格局,为广泛的HER2低表达患者带来了突破性的治疗获益,尤其为HER2低表达晚期乳腺癌带来了新的治疗希望。至此,HER2低表达成为新的治疗标准,HER2低表达成为一种靶向生物标志物。
 
HER2低表达乳腺癌最佳治疗策略的探讨
 
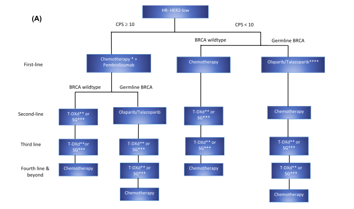
随着T-DXd在DB04试验中对所有HR+患者(包括HR阴性)有效,并被批准用于HER2低表达乳腺癌,无论HR状态如何。然而,该批准提出了一个关于T-DXd与其他标准治疗的最佳排序策略的问题。今年5月发表在Cancer上的一项研究对此进行了探讨。研究者利用目前文献中的证据,分别对T-DXd与戈沙妥珠单抗(sacituzumab govitecan,SG)、alpelisib、依维莫司(everolimus)、多聚ADP核糖聚合酶(PARP)抑制剂等其他当前疗法的结局进行讨论,以指导HR+和HR-/HER2低表达转移性乳腺癌的最佳治疗排序策略(如下图)[4]。研究主要发现有:
 
SG在HER2低表达BC中的疗效:对于TNBC或HR-/HER2低表达BC患者,SG在ASCENT试验中的无进展生存期(PFS)较T-DXd在DB-04试验中短,但ASCENT试验中入组了病情更严重的经治人群,因此这可能是合理的。目前尚缺乏T-DXd与SG直接的头对头比较。TROPiCS-02试验中,对于HR+/HER2阴性乳腺癌患者,无论HER2表达情况如何,SG都被认为是有效的治疗选择。
 
ASCENT和TROPiCS-02试验均设计用于HER2阴性患者;因此,主要结果与HER2低表达与HER2零表达无关。然而,事后分析表明获益非常相似,因此区分HER2-零或HER 2低表达似乎对该药物的活性并不重要。
 
PARP抑制剂在HER2低表达BC中的疗效:尽管国家综合癌症网络(NCCN)建议在BRCA突变、HER2阴性乳腺癌中使用奥拉帕利和他拉帕利,但缺乏独立的数据来评估这两种PARPi在HER2低表达与零表达中的获益。
 
alpelisib在HER2低表达BC中的疗效:由于氟维司群联合alpelisib可显著改善PFS,因此仍是HR+/HER2低表达乳腺癌患者CDK 4/6抑制剂联合芳香化酶抑制剂治疗进展后的首选二线治疗。
 
依维莫司在HER2低表达BC中的疗效:对于化疗耐药HR+/HER2低表达转移性乳腺癌患者,T-DXd的疗效优于基于依维莫司的治疗。
 
 
更前线治疗及新药物的探索
 
随着DB04研究结果为HER2低表达乳腺癌带来的创新贡献,针对HER2低表达乳腺癌这一全新分型,最新的DESTINY-Breast06(简称“DB06”)研究和DESTINY-Breast08(简称“DB08”)DB08研究都已经在推进中,其中DB08也在刚举行的SABCS 2023会议上公布了最新进展。
 
其中,DB06研究是一项针对HR阳性、HER2低表达乳腺癌的Ⅲ期临床研究,旨在通过比较T-DXd与研究者选择的化疗在HER2低表达、激素受体阳性、转移性乳腺癌中的中的疗效、安全性和耐受性,纳入的患者群体为内分泌治疗后进展、未接受过化疗的转移性乳腺癌患者。临床同仁都热切期待该研究的结果,若能取得积极结果,意味着T-DXd在HER2低表达乳腺癌中的治疗线数前移[5]
 
DB08是一项Ⅰb期、多中心、剂量拓展研究,旨在不限HR表达状态的HER2低表达乳腺癌患者中,探索T-DXd与其他类型抗肿瘤药物联合治疗HER2低表达转移性乳腺癌的安全性、耐受性、药代动力学及肿瘤活性。该研究。在本次大会上公布的结果,初步提示对于HER2低表达/HR+乳腺癌患者应用T-DXd联合内分泌治疗可行性。但对于T-DXd内分泌治疗结合能够有多少获益,仍需要更长的随访时间[6]
 
此外,还有多项正在进行中的针对HER2低表达治疗的新药物研究,如Dato-DXd(datopotamab deruxtecan)、SYD985(Trastuzumab duocarmazine)、RC48(disitamab vedotin)等。
 
专家点评:
 
在HER2低表达乳腺癌方面,DESTINY系列研究给出了影响深远的研究结果。随着HER2低表达成为临床上有效的治疗指标,以及HER2低表达中新型ADC的有前景的临床数据的出现,HER2低表达已成为潜在的靶向实体,这给乳腺癌的分型治疗带来了理论上和临床上的重大革新,为众多HER2低表达乳腺癌患者带来了针对性治疗的福音。
 
针对HER2低表达乳腺癌患者这个异质性人群,其临床性质、肿瘤生物学、预后和对不同治疗的反应不同,已有的研究结果已经证明,新型ADC药物对HER2低表达乳腺癌患者(包括HR-阴性)显示出疗效,具有临床活性。与医生选择的化疗(PCC)方案相比,新型ADC药物在既往接受过治疗的转移性HER2低表达乳腺癌中具有良好的临床效果,是一种有效的临床治疗手段。相信随着DB06和DB08研究结果陆续公布,新型ADC药物将在HER2低表达乳腺癌更前线的治疗中发挥更大的价值。
 
未来,有必要研究对其他批准的治疗方法与新型ADC药物相比的相对疗效,以确定最佳测序策略,从而在HER2低表达乳腺癌中获得最大的临床效益。各种新型抗HER2药物研发试验将有助于进一步评估这些药物在HER2低表达乳腺癌方面的治疗效果,不断优化新型药物的疗效,最终为HER2低表达乳腺癌带来更丰富、更优的治疗选择。
 
参考文献
 
[1]中国抗癌协会国际医疗与交流分会,中国医师协会肿瘤医师分会乳腺癌学组.人表皮生长因子受体2低表达乳腺癌临床诊疗共识(2022版)[J].中华肿瘤杂志,2022,44(12):1288-1295.
 
DOI:10.3760/cma.j.cn112152-20220914-00623
 
[2]郭晴,张剑.HER2低表达乳腺癌的靶向治疗研究进展[J].中国癌症杂志,2023,33(2):10.DOI:10.19401/j.cnki.1007-3639.2023.02.012.
 
[3]Modi S,Jacot W,Yamashita T,et al.Trastuzumab Deruxtecan in Previously Treated HER2-Low Advanced Breast Cancer.N Engl J Med.2022 Jul 7;387(1):9-20.doi:10.1056/NEJMoa2203690.Epub 2022 Jun 5.PMID:35665782;PMCID:PMC10561652.
 
[4]Roy AM,Kumarasamy VM,Dhakal A,et al.A review of treatment options in HER2-low breast cancer and proposed treatment sequencing algorithm.Cancer.2023 Sep 15;129(18):2773-2788.doi:10.1002/cncr.34904.Epub 2023 Jun 22.PMID:37349954;PMCID:PMC10478358.
 
[5]https://clinicaltrials.gov/
 
[6]2023 SABCS RF02-03
 
袁中玉教授
中山大学肿瘤防治中心内科
教授、主任医师、博士生导师
从事乳腺癌的临床和科研工作多年,主持参与临床研究20余项,主持参与国家863计划、国家自然科学基金等多个科研项目,在JAMA、CCR、JNCI、Mol Oncol、J Pathol等发表SCI论著54篇。主要社会任职:
广东省胸部肿瘤协会乳腺癌专业委员会副主任委员
广东省健康管理学会乳腺癌专业委员会副主任委员
广东省中医药学会乳腺病专业委员会副主任委员
广东省药学会乳腺科用药专家委员会副主任委员
广东省胸部疾病学会乳腺病防治专业委员会副主任委员
广东省精准医学应用学会乳腺肿瘤分会副主任委员
广东省抗癌协会脊柱肿瘤专业委员会副主任委员
 
CN-20231222-00014

 

本内容仅供医学专业人士参考


乳腺癌

分享到: 更多